


湖北-禹硕
点击下方名片添加关注
每天更新精彩内容
楼板、防火分隔墙体、墙头缝、墙间缝
等缝隙防火封堵构造做法 建筑缝隙包括抗震缝、沉降缝、伸缩缝以及在建筑中楼板和墙体之间、墙体之间、楼板之间的缝隙等,这些建筑缝隙易导致火势和烟气在建筑中蔓延扩大;为了保持建筑防火分隔的完整性和有效性,需对防火分隔构件或结构上的建筑缝隙采取相应的防火封堵措施。
本文着重介绍防火封堵为:楼板与防火分隔墙体之间、楼板与楼板之间、墙头缝、墙间缝
规范条文:

如上规范条文所示:防火封堵背衬材料在有振动或有伸缩和无振动或无伸缩的缝隙做法是一样的,都是采用矿物棉等不燃性背衬材料挤压完全将缝隙填塞。不一样的是背衬材料表面的覆盖材料,无振动伸缩的缝隙背衬材料表面采用无机防火封堵材料,有振动伸缩的缝隙,背衬材料表面采用具有弹性的防火密封胶等防火封堵材料进行封堵一、无振动或无伸缩的缝隙:1、三种常见缝隙:楼板与防火分隔墙体侧面之间的建筑缝隙:
楼板与楼板之间的建筑缝隙:
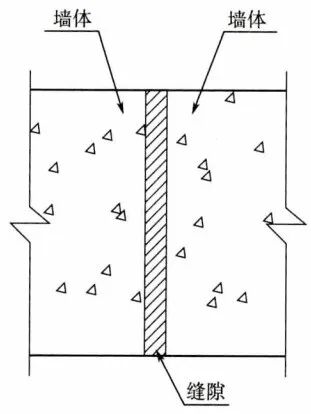
防火分隔墙体之间的建筑缝隙(墙间缝):
2、封堵构造措施
如上图中的这三类建筑缝隙为伸缩缝形式,其防火封堵需先采用矿物棉等不燃性作为背衬材料挤压完全将缝隙填塞,然后在背衬材料外表面覆盖防火封堵材料,如下图所示。
二、有振动或有伸缩的缝隙1、防火分隔墙体顶端与楼板下侧之间的建筑缝隙(墙头缝),如下图所示
封堵构造措施:上面的这种使用时有振动或伸缩的建筑缝隙较为常见,施工中如果用无机材料封堵,难以满足缝隙伸缩等产生的变形,需使用防火密封胶或柔性有机堵料封堵。即需要选择具有弹性的防火封堵材料,如防火密封漆、具有弹性的防火密封胶等防火封堵材料进行封堵,才能满足缝隙因振动或伸缩产生的变形。参考规范:
《建筑防火封堵应用技术标准》GB/T51410-2020
免责声明:本平台只提供分享和交流不作商业用途,
如侵权或来源标注有误,请及时联系我们删除!
